醫院污水處理設施
采用“生物接觸氧化處理+消毒”處理工藝,生物處理裝置要求技術可行,運行費用低廉,經濟合理,設備可靠先進,工藝技術具有一定的耐沖擊負荷和操作靈活性。整體布局應簡潔,合理、美觀、實用、減少動力消耗等。

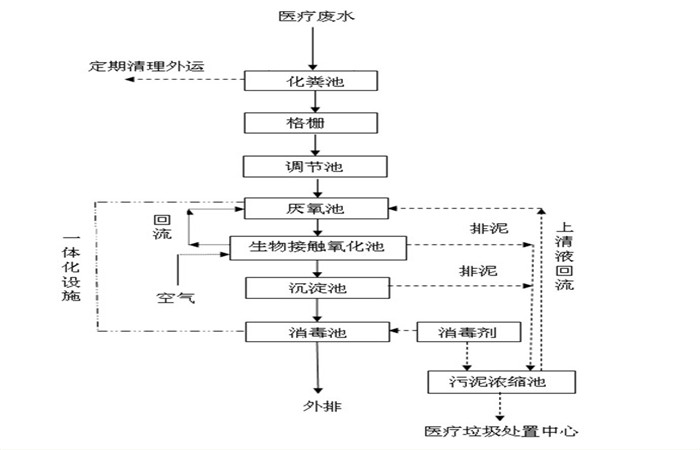
醫院污水處理設施工藝選擇思路:
(1)預處理:廢水的預處理是整個系統能否有效運行的關鍵。廢水中含有大量易腐化的有機物,必須在進入處理系統前加以攔截,以防止懸浮固體有機質腐化成為溶解性有機質,導致廢水CODCr、BOD5濃度升高。常用的預處理方法很多,主要包括:調節、隔油、等。考慮到本工程的水量及水質特點,預處理工藝采用格柵、綜合調節相結合的工藝。
(2)水解酸化工藝在高濃度有機廢水的處理中是應用最多的形式,是通過控制水力停留時間及水中溶解氧的濃度,將生物的厭氧過程控制在水解及酸化階段,不要求進入產乙酸和產甲烷階段,從而縮短了反應的進程和時間。其主要的優勢在于能夠去除較多的有機物、降解分子量大和碳鏈較長的物質、提高進水的可生化性,同時由于其不進入產甲烷階段,對環境條件的要求較低,能夠抵抗一定的水質和水量的沖擊負荷,同時水解酸化反應在厭氧和缺氧條件下都能夠發生,對反應池的結構形式要求較低。水解酸化是將厭氧過程控制在水解和酸化階段即可,因此水解酸化反應池的停留時間短,反應池內的優勢菌群為水解酸化菌,少數為乙酸菌和產甲烷菌。另外,水解酸化工藝不進入產甲烷階段,產生的少量氣體可直接排入大氣中,不會對人體和周圍環境產生較大的影響。

(3)生化處理:
接觸氧化法是一種好氧生物膜法工藝,微生物以生物膜形式及懸浮態生長于水中,因此它兼具活性污泥及生物濾池二者的特點。池內設置立體彈性填料和曝氣管路系統,并于曝氣管路系統上安裝微孔曝氣器。彈性填料由拉毛的PP材質的絲條和絞繩制成,呈圓形毛刷狀,比表面積大,能附著大量的微生物膜。該填料掛膜快,脫膜容易,運行時絲條對空氣泡能起到極好的切割作用,使大氣泡切割成小氣泡,可增加氣液接觸面積,促進氧的傳遞,從而提高處理效果。該工藝負荷高、停留時間短、掛膜快、運行穩定,比較適合小規模企業中小型污水處理站的建設,倍受環保公司及用戶青睞。
(4)消毒:醫院污水中含有大腸桿菌超標,因此在污水排放前必須加以消毒,最有效的殺菌工藝是二氧化氯消毒,二氧化氯發生器以鹽酸和氯酸鈉為原料,采用負壓曝氣工藝,生產以二氧化氯為主,氯氣為鋪的復合消毒液,工業鹽酸應符合國家標準《GB320--93工業合成鹽酸》的要求。氯酸鈉應符合《GB1618--1995工業用氯酸鈉》的要求。



返回首頁
電話
產品中心