小型醫療污水處理機械
一、小型醫療污水處理機械:
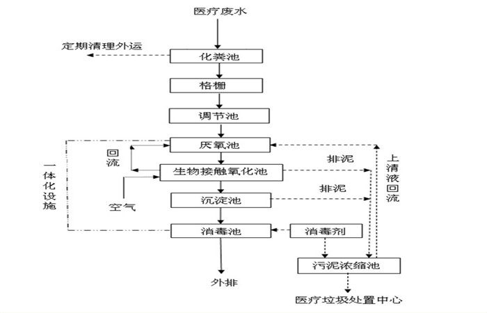
醫院污水處理機械一般埋設于地表之下,運用二次生物接觸氧化處理工藝,它處理的效果超越全混合生物氧化池,對水質的適應性強度高,保證了水處理的穩定性。該設備在池中采用了新型彈性立體填料,對污水中的有機物質具有去除的功能。該設備通過氧化處理之后,產生的污泥量較少,僅需90天排放一次即可。為了避免放生病菌滋生、傳播的現象發生,須對水質進行深度消毒處理。目前應用多的消毒工藝有:紫外線消毒、二氧化氯消毒、臭氧消毒。需根據污水水質特點及排放量進行選擇。

二、小型醫療污水處理機械原理:
1、是指將污水處理設施中的主體構筑物埋在地下或半地下的污水處理技術。其主要有占地面積小、噪音低、無異味、受氣候影響小、管理方便、處理效率高等特點。
2、具有脫氮除磷能力,并可以通過調節設備的構造,達到處理工業廢水,生活污水,城市污水的能力。
3、一種利用污水生物菌來處理污水的設備,是一種以生物膜為凈化主體的污水生物處理系統,充分發揮了厭氧生物濾池、接觸氧化床等生物膜反應器具有的生物密度大、耐污能力強、動力消耗低、操作運行穩定、維護方便的特點。
4、后續鏈接二氧化氯發生器,可以將醫院污水中的有毒物質消除。

三、小型醫療污水處理設備選用的MBR工作過程:
膜系統的采用將活性污泥系統中的泥水直接分離,較傳統工藝節省了沉淀系統和深度過濾系統,并且節省用地、出水水質高,可以達到回用水標準,而且加藥量減少了70%。但是這種工藝也存在初投資較高、運行電耗比傳統工藝稍高等的缺點。MBR工藝出水濁度小,適合采用紫外線消毒。由于出水水質好,加藥量小,使用方便,不影響環境。

四、小型醫療污水處理機械特點:
1、設備可埋入地下,噪音小,占地小中,充氧效率高,對周圍環境無影響。
2、全自動控制,無需人員管理。 ·工藝新,效果好,壽命長,維護管理方便。
3、污染物去除范圍大,可同時脫氮,除磷和去除有機物。
4、水調節池、接觸氧化池、二沉池、消毒池及好氧污泥消化池控制系統。
5、剩余污泥產量小,處理效率高。
6、投資少,運行費用低。


返回首頁
電話
產品中心