醫療機構污水處理設備
一、醫療機構污水處理設備工藝:
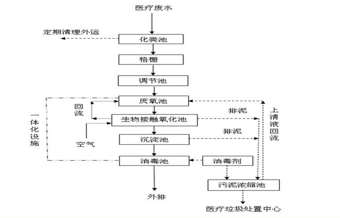
采用生物處理工藝----生物接觸氧化法加二氧化氯發生器消毒的工藝,集去除CODcr、BOD5、NH3-N等于一身,是目前有效的污水處理設備。處理后的污水達到《國家醫療機構污水排放標準GB18466-2005》。

二、醫療機構污水處理設備部分:
1、格柵:格柵設置于調節池內污水源頭進水一端,格柵井內設置人工格柵,通過格柵攔截去除醫院污水中較大的懸浮物固體、紙屑,保護水泵及后續管路系統不被堵塞。
2、調節池:提高整個系統的抗沖擊性能減少處理單元的設計規模。有利于降低運行成本和水質波動帶來的影響。設置液位自動控制裝置,水泵將根據液位自動開啟。
3、缺氧池:由于污水中的有機成分較高,BOD5/CODcr=0.5可生化性好,因此設計采用生物膜法。

三、醫療機構污水處理設備工藝流程說明
醫院污水首先進入格柵井,格柵的作用主要是攔截污水中的漂浮物及顆粒物,減輕后續設備的處理負荷和保護水泵正常工作。從格柵出來的水有提升泵提升到調節池,調節池的作用是調節水質和水量,使不同時間、不同水質的水充分混合,保證進入到后續設備的水質與水量均勻一致,還可以降低一定的負荷,使整套處理設備耐受短時間較高的負荷沖擊。為防止SS在調節池沉淀,在調節池中安裝幾根曝氣軟管,起攪拌作用,同時調節池具有水解、酸化池的功能,可將部分大分子有機污染物降解為小分子污染物,去除部分有機污染物。調節池出來的水自流至一體化醫院污水處理設備的水解酸化池,將不易分解的大分子有機物厭氧消化為易分解的小分子有機物,后廢水進入接觸氧化池,在曝氣池中設置填料,將其作為生物膜的載體。待處理的廢水經充氧后以一定流速流經填料,與生物膜接觸,生物膜與懸浮的活性污泥共同作用,達到凈化廢水的作用。生物處理后的廢水自流入沉淀池,沉淀后上清液自流入消毒池,經過二氧化氯消毒后達標排放。

四、醫療機構污水處理設備優點:
1.設備埋于地表下,上面可以進行綠化,環境美觀。
2.整個設備一般不需要專人管理。
3.可以減少占地面積,設備上方可修建停車場等,無需建廠房等設施


返回首頁
電話
產品中心